THANG TỜI HÀNG – TỜI TẢI HÀNG ĐƠN GIẢN
Thang máy tời hàng – tời tải hàng là thiết bị nâng hạ hàng hóa đơn giản. Tời là thiết bị có tang quay, trên tang có dây cáp để kéo vật nặng. Các tên gọi: tời tải hàng, tời nâng hàng, thang tời hàng… nhấn mạnh tới động cơ kéo (tời). Dễ nhận thấy: tời tải hàng không có đối trọng, khác biệt hẳn với thang máy tải hàng.
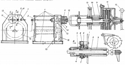
Cấu tạo tời nâng hàng thường gồm 6 bộ phận sau:
1. Thiết bị truyền lực cho tời: Động cơ điện, động cơ đốt trong, khí nén, thủy lực,…
2. Tang cuốn cáp và dây cáp
3. Hộp giảm tốc
4. Phanh an toàn: Phanh thủy lực, phanh điện từ, phanh tay, phanh tự hãm
5. Thiết bị điều khiển tời kéo
6. Bộ ly hợp (tùy vào từng loại tời nâng hàng)
Trong đó, phanh là một bộ phận rất quan trọng trong cấu tạo tời nâng hàng, phanh an toàn giúp cho tời có thể ngừng hoạt động chỉ bằng 1 nút nhấn. Trong trường hợp cúp điện bất ngờ, hệ thống phanh sẽ hoạt động, ngừng máy một cách an toàn, đảm bảo an toàn lao động.
Giá thang tời hàng – báo giá thang tời hàng
Giá thang máy tời hàng phụ thuộc vào nhiều yếu tố:
- Nhu cầu thực tế của khách hàng mà thiết kế đơn giản hoặc phức tạp.
- Tải trọng: 50kg, 100kg, 150kg, 200kg, 350kg, 300kg, 350kg, 400kg, 450kg, 500kg, 600kg, 800kg, 1000kg, 1500kg, 2000kg…
- Số tầng, số điểm dừng: Từ 2 đến dưới 7 điểm dừng
- Vật liệu cabin: inox, tole, sắt hộp…
- Có trang bị hệ thống thắng cơ, chống vượt tốc hay không?
- Hãng động cơ kéo: Mitsubishi, Sicor, Gem, Fuji…
- Hệ thống điện, các thiết bị an toàn
…
Ứng dụng thang tời hàng:
- Tời thực phẩm: tại các nhà hàng, quán cafe, khách sạn, nhà ăn…
- Tời thuốc, vật tư y tế tại các bệnh viện
- Tời hàng hóa, trang thiết bị, máy móc tại các nhà máy, xí nghiệp
- Tời xe máy
…
Cấu tạo của thang tời hàng Vlift bao gồm:
- Động cơ kéo: Motor, hộp số, thắng điện từ, tang cuốn cáp từ các hãng như Mitsubishi, Fuji, Hitachi, Sicor…
- Cáp, xích (nếu động cơ kéo là palang điện)
- Cabin
- Ray dẫn hướng
- Hệ thống điều khiển: Tủ điện, bảng điều khiển
- Hệ thống thắng cơ khí (trong trường hợp dùng cho loại tời tải hàng có người đi hoặc các hàng hóa có giá trị lớn, dễ vỡ…)
Ưu, nhược điểm của tời tải hàng so với thang máy tải hàng
Ưu điểm:
- Diện tích hố thang nhỏ hơn so với thang máy tải hàng nhưng cabin vẫn có thể mở rộng như thang máy (do không cần tới không gian bố trí đối trọng). Ví dụ với kích thước hố thang có chức năng tải đồ ăn: W1000xD1000mm (ngang x sâu) thì cabin tời tải hàng sẽ được: W650xD800mm. Còn thang máy tải hàng với kích thước cũng như vậy sẽ được cabin: W650xD650mm.
- Chi phí thấp hơn thang máy cùng cấu hình: không có đối trọng giảm bớt được chi phí bo đối trọng, ray, cáp, công lắp đặt, hệ điều khiển đơn giản, cấu tạo hệ thống cơ khí cũng đơn giản hơn.
Nhược điểm:
- Tốc độ chậm hơn so với thang máy: tốc độ từ 3.3m/p – 30m/p
Tính AN TOÀN của tời tải hàng – thang tời hàng
Hàng năm, các vụ tai nạn liên quan đến thang máy, tời tải hàng hóa, cẩu trục, vận thăng là không hề hiếm. Có 2 nguyên nhân chính xuất phát từ nhà cung cấp sản phẩm và người sử dụng.
Nguyên nhân từ phía nhà cung cấp sản phẩm tời nâng hàng:
- Không đủ năng lực, chuyên môn thiết kế, sử dụng các linh kiện kém chất lượng.
- Không tư vấn đầy đủ về sản phẩm: Bắt buộc phải che, xây kín phạm vi thang tời hàng hoạt động.
- Bớt các tính năng an toàn như: an toàn cửa (đây là nguyên nhân chính dẫn đến các vụ tai nạn, cửa thang mở nhưng thang vẫn chạy gây tai nạn cho người sử dụng), thiết bị chốt, chặn cửa, báo quá tải…
Nguyên nhân từ phía người sử dụng:
- Cho người đi kèm hàng hóa mà không phải loại tời nâng hàng có người đi.
- Không che kín giếng thang tời hàng, phạm vi thang tời hoạt động.
- Không sử dụng cửa, các thiết bị an toàn được nhà sản xuất khuyến cáo…
- Không sử dụng dịch vụ bảo trì.
Các tính năng an toàn thang tời hàng Vlift:
- Thiết bị cứu hộ tự động khi mất điện nguồn (MELD)
- Chức năng trở về tầng chính khi có hỏa hoạn (FER)
- Chức năng vận hành khẩn cấp phục vụ nhân viên cứu hỏa (FE)
- Dừng tầng an toàn (SFL)
- Dừng tầng kế tiếp (NXL)
- Tự động vượt tầng khi đủ tải (ABP)
- Thiết bị báo quá tải (ONH)
- Tự động hủy bỏ lệnh gọi thừa trong phòng thang (CCC)
- Xóa tầng gọi nhầm (FCC-P)
- Tự động tắt đèn (CLO-A)
- Tự động tắt quạt (CFO-A)
- Phục vụ độc lập (IND)
- Tự chuẩn đoán tình trạng cảm biến cửa (DODA)
- Tự động điều chỉnh tốc độ cửa (DSAC)
- Mở cửa bằng nút gọi thang (ROHB)
- Đóng cửa lắp lại (RDC)
- Đóng cửa cưỡng bức có chuông báo (NDG)
- Bộ phận bảo vệ cửa khi bị kẹt (DLD)
- Nút gọi tầng/ thang dạng nút ấn
Lắp Đặt Thang Máy Nâng Hàng Theo Combo Giá Cực Rẻ
Tham khảo bảng giá Thang Máy Nâng Hàng theo Combo CỰC HẤP DẪN với GIÁ CỰC RẺ:
- Bảng giá trên là giá thi công lắp đặt TRỌN GÓI KHÔNG PHÁT SINH
- Áp dụng cho công trình tại TP.HCM.
- Áp dụng lắp Thang theo mẫu VLift cung cấp và kích thước cố định như sau:
|
|
|
- Sản phẩm: Thang Máy Nâng Hàng tải trọng 300 - 1000kg
- Xuất xứ: Thang được gia công và lắp ráp tại VNDB với tỷ lệ nội địa hóa cao.
ỨNG DỤNG
- Thang Máy Nâng Hàng từ 300 đến 1000kg là công cụ tời nâng hàng hiệu quả, tiện lợi cho các đơn vị cá nhân, doanh nghiệp, hộ gia đình kinh doanh nhỏ lẻ... Là sản phẩm được thiết kế chuyên biệt để chuyên chở hàng hóa, vật liệu sản xuất, kinh doanh…
- Vị trí lắp đặt: Tuỳ thuộc vào địa hình cụ thể mà có sự linh động trong việc chọn vị trí lắp đặt, có thể trong nhà hoặc ngoài trời.
CẤU TẠO
- Thang Máy Nâng Hàng được thiết kế bởi đội ngũ kĩ sư có tay nghề cao, dễ dàng thi công, lắp ráp, được kiểm định sản phẩm trước khi đưa vào sử dụng để đảm bảo an toàn.
- Phần động cơ nhập khẩu mới, có chứng chỉ xuất xưởng CO (Certificate Origin), CQ (Certificate Quality) với chất lượng tốt và có độ bền bỉ cao.
- Kết cấu khung thang được VLift gia công bằng thép cường độ cao, ray điều hướng được gia công bằng thép hộp mạ kẽm giúp làm giảm quá trình oxi hóa của sắt trong quá trình sử dụng
- Tab điều khiển có hiển thị LED giúp xác định vị trí tầng Cabin.
CÁC CHỨC NĂNG CƠ BẢN
Chức năng Tiết kiệm điện
- Hệ thống điều khiển được nâng cấp sử dụng chíp PLC để điều phối hoạt động của động cơ, giúp Thang di chuyển êm ái và ổn định, có thể tiết kiệm tới 30% lượng điện năng tiêu thụ so với tủ điều khiển cũ.
- Các thiết bị như Đèn LED, Nút điều khiển … sẽ được ngắt tạm thời nếu không sử dụng tới để tiết kiệm điện.
Chức năng Khóa khi mất điện:
- Khi nguồn điện bị mất đột ngột, Tủ điều khiển trung tâm sẽ tự động trả lệnh và khóa để đảm bảo Cabin không rơi.
Chức năng an toàn:
- An toàn khóa cửa: Để đảm bảo an toàn khi sử dụng Thang, tất cả các cửa Thang đều phải đóng. Nếu có bất kì cửa Thang của tầng nào chưa đóng thì Tủ điều khiển sẽ không cho Thang chạy và báo lỗi tại bảng LED.
- An toàn hành trình di chuyển: Khi Thang gặp sự cố về việc di chuyển quá hành trình cho phép, Hệ thống Tủ điều khiển sẽ dừng Thang ngay lập tức để đảm bảo an toàn
CÁC CHỨC NĂNG NÂNG CAO - THEO ĐƠN ĐẶT HÀNG
- An toàn quá tải: Khi tải trọng nâng vượt quá định mức cho phép, hệ thống sẽ cảnh báo “quá tải” và không thực hiện lệnh tải.
- Giảm tốc độ trước khi dừng: Khi Thang di chuyển tới gần điểm dừng thì hệ thống sẽ giảm tốc độ để giảm sự rung lắc và va đập, đảm bảo hàng hoá “được vẹn nguyên” đến nơi cần thiết, nhất là khi vận chuyển thực phẩm.
CHÍNH SÁCH BẢO HÀNH
CÁC TRƯỜNG HỢP THANG KHÔNG ĐƯỢC BẢO HÀNH MIỄN PHÍ
- Sản phẩm đã hết thời gian được bảo hành theo biên bản bàn giao
- Khách hàng không thực hiện đúng các điều khoản của hợp đồng
- Thang không sử dụng đúng mục đích và công năng theo hướng dẫn
- Sản phẩm bị hư hỏng do nguyên nhân bất khả kháng (thiên tai, hỏa hoạn, …)
- Sản phẩm bị can thiệp bởi bên thứ 3 mà chưa được sự đồng ý bằng văn bản từ phía VLift.
- Các sản phẩm tiêu hao trong quá trình sử dụng như: Bóng đèn, Ắc quy, …
- Lỗi linh kiện kỹ thuật không xuất phát từ nhà sản xuất.
QUY TRÌNH LẮP ĐẶT THANG MÁY NÂNG HÀNG CỦA VLift











Xem thêm